貸出施設のレイアウト図・設備・利用料金等
貸出施設の構内配置図
研修棟
研修棟設備・備品定数
大研修室
定員70名/広さ123.8㎡
- 会議机(2人掛け)(W1,500×D450mm)
- 35台
- 会議椅子
- 70脚
- 操作卓(演台)
- 1台
- 白板(壁付け)
- 1枚
- ホワイトボード(移動式)
- 4台
- 電子黒板
- 1台
- 天吊りプロジェクター
- 1台
- マイク
- 4本
- マイク台
- 1台
- 加湿機能付き空気清浄機
- 4台
中研修室
定員30~40名/広さ66.0㎡
- 会議机(2人掛け)(W1,500×D450mm)
- 20台
- 会議椅子
- 40脚
- 白板(壁付け)
- 1枚
- ホワイトボード(移動式)
- 2台
- 電子黒板
- 1台
- 加湿機能付き空気清浄機
- 2台
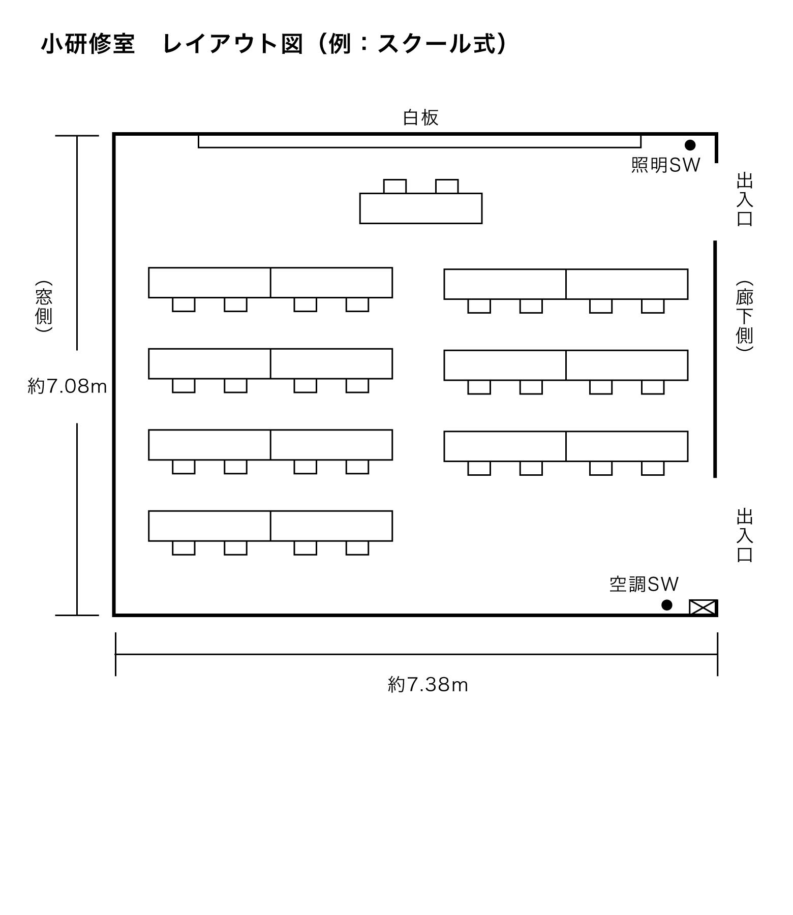
小研修室
定員20~30名/広さ54.0㎡
- 会議机(2人掛け)(W1,500×D450mm)
- 15台
- 会議椅子
- 30脚
- 白板(壁付け)
- 1枚
- ホワイトボード(移動式)
- 1台
- 電子黒板
- 1台
- 加湿機能付き空気清浄機
- 1台
研修棟利用料金表(1時間当り)
| 区分 | 数 | 面積 | 利用料金(令和8年3月31日まで) | 利用料金(令和8年4月1日以降) |
|---|---|---|---|---|
| 大研修室 | 2 | 123.8㎡ | 3,010円 | 3,500円 |
| 中研修室 | 4 | 66.0㎡ | 1,610円 | 1,900円 |
| 小研修室 | 8 | 54.0㎡ | 1,320円 | 1,600円 |
第二研修棟
第二研修棟設備・備品定数
2階研修室
定員250名/広さ570.0㎡
- 会議机(3人掛け)(W1,800×D450mm)
- 125台
- 会議椅子
- 250脚
- 操作卓
- 1台
- 演台
- 1台
- ステージ(W7,200×D2,400×H400mm)
- 1式
- 電子黒板
- 5台
- 天吊りプロジェクター
- 3台
- スクリーン
- 3枚
- マイク
- 6本
- 卓上マイクスタンド
- 1台
- マイクスタンド
- 2台
- ホワイトボード(移動式)横型:ボード寸法1,800×900mm
- 18台
- ホワイトボード(移動式)縦型:ボード寸法900×1600mm
- 15台
- 加湿機能付き空気清浄機
- 10台
第二研修棟利用料金表(1時間当り)
| 区分 | 数 | 面積 | 利用料金(令和8年3月31日まで) | 利用料金(令和8年4月1日以降) |
|---|---|---|---|---|
| 2階研修室 | 1 | 570.0㎡ | 13,890円 | 16,000円 |
講堂棟
講堂棟設備・備品定数
講堂
定員250名/広さ375.0㎡
- 階段式固定机(D420mm)
- 右列(6人掛け×10列)
- 中央列(7人掛け×10列)
- 左列(6人掛け×10列)
- 30台
- 座面跳ね上げ式固定椅子
- 190席
- 会議机(2人掛け)(W1,500×D450mm)
- 30台
- 会議椅子
- 60脚
- 電子黒板
- 1台
- 壁掛けプロジェクター
- 1台
- スクリーン
- 1枚
- 司会台
- 1台
- マイク
- 4本
- 卓上マイクスタンド
- 1台
- マイクスタンド
- 3台
- ホワイトボード(移動式)
- 5台
- 空気清浄機(プラズマイオンクラスター)
- 4台
講堂棟利用料金表(1時間当り)
| 区分 | 数 | 面積 | 利用料金(令和8年3月31日まで) | 利用料金(令和8年4月1日以降) |
|---|---|---|---|---|
| 講堂 | 1 | 375.0㎡ | 8,310円 | 9,600円 |
食堂棟
食堂棟設備・備品定数
カフェテリア
定員200名/広さ691.8㎡
- 食堂テーブル(6人掛け:W1,800×D900mm)
- 20台
- 台形テーブル(3人掛け:W1,800・945×D820mm)*円形にする場合は2人掛け
- 6台
- ビッグテーブル(4人掛け:W1,200×D1,200mm)
- 4台
- カウンターテーブル(2人掛け:W1,500×D450mm)
- 7台
- 木製スタッキングチェア
- 168脚
- ボックス席テーブル(4人掛け:W1,200×D800mm)
- 3台
- ボックス型ソファー
- 12台
- 食堂テーブル(4人掛け:W900×D900mm)
- 5台
- 食堂テーブル(4人掛け:W1,200×D900mm)
- 2台
- 食堂椅子(木製)
- 28脚
- ホワイトボード(移動式)横型:ボード寸法1,800×900mm
- 1台
- 卓上マイクスタンド
- 3台
- マイクスタンド
- 5台
- マイク
- 4台
- グランドピアノ
- 1台
- テレビ
- 1台
レセプションホール
定員150名/広さ374.9㎡
- 会議机(3人掛け)(W1,800×D450mm)
- 130台
- 会議椅子
- 180脚
- 演台
- 2台
- ステージ(W6,000×D2,400×H400mm)
- 1式
- 電子黒板
- 4台
- 天吊りプロジェクター
- 1台
- スクリーン
- 1枚
- マイク
- 3本
- マイクスタンド
- 1台
- ホワイトボード(移動式)横型:ボード寸法1,800×900mm
- 20台
- グランドピアノ
- 1台
会議室1
定員15名/広さ58.6㎡
- 食堂テーブル(W4,800×D1,480mm)
- 1台
- 食堂椅子(肘付)
- 15脚
- 応接テーブル(W1,100×D580mm)
- 2台
- 応接椅子
- 8脚
会議室2
定員20名/広さ52.2㎡(板の間です)
- 会議テーブル(掘りごたつ式)(W5,000×D1,400mm)
- 1台
- 座布団
- 20枚
会議室3
定員20名/広さ55.8㎡
- 食堂テーブル(W1,340×D900mm)
- 8台
- 食堂テーブル(W900×D900mm)
- 3台
- 食堂椅子
- 20脚
食堂棟利用料金表(1時間当り)
| 区分 | 数 | 面積 | 利用料金(令和8年3月31日まで) | 利用料金(令和8年4月1日以降) |
|---|---|---|---|---|
| カフェテリア(1階) | 1 | 691.8㎡ | 16,850円 | 19,400円 |
| 会議室1(2階) | 1 | 58.6㎡ | 1,420円 | 1,700円 |
| 会議室2(2階) | 1 | 52.2㎡ | 1,270円 | 1,500円 |
| 会議室3(2階) | 1 | 55.8㎡ | 1,360円 | 1,600円 |
| レセプションホール(3階) | 1 | 374.9㎡ | 9,140円 | 10,600円 |
体育館
体育館設備・備品定数
体育館
- バスケットボールコート
- 1面
- バレーボールコート
- 1面
- バドミントンコート
- 3面
- 卓球台
- 6台
- 男女更衣室(シャワーあり)
- 各1室
- スポットクーラー
- 6台
体育館利用料金表(1時間当り)
| 区分 | 数 | 面積 | 利用料金(令和8年3月31日まで) | 利用料金(令和8年4月1日以降) |
|---|---|---|---|---|
| 体育館 | 1 | 769.9㎡ | 340円 | 400円 |
研修生プラザ
研修生プラザ設備・備品定数
談話室1
定員10名/広さ17.0㎡
- 会議机(W1,800×D900mm)
- 2台
- 会議椅子
- 12脚
談話室2
定員10名/広さ17.0㎡
- 会議机(W1,500×D890mm)
- 2台
- 会議椅子
- 12脚
- 電子黒板
- 1台
談話室4
定員12名/広さ25.0㎡
- 会議机(W1,990×D595mm)
- 3台
- 会議机(W1,800×D895mm)
- 2台
- 会議椅子
- 14脚
特別研修室
定員40名/広さ66.0㎡
- 会議机(W1,800×D450mm)
- 20台
- 会議椅子
- 40脚
- ホワイトボード(移動式)
- 2台
研修生プラザ利用料金表(1時間当り)
| 区分 | 数 | 面積 | 利用料金(令和8年3月31日まで) | 利用料金(令和8年4月1日以降) |
|---|---|---|---|---|
| 談話室1 | 1 | 17.0㎡ | 420円 | 500円 |
| 談話室2 | 1 | 17.0㎡ | 420円 | 500円 |
| 談話室4 | 1 | 25.0㎡ | 610円 | 800円 |
| 特別研修室 | 1 | 66.0㎡ | 1,610円 | 1,900円 |